Adjustable Double Padded Bra Having a Fixation Mechanism Patent N° US12302956B2 Samantha Ben May 20, 2025 Previous patent image Next patent image Adjustable Double Padded Bra Having a Fixation Mechanism View on Google Patents Adjustable Double Padded Bra Having a Fixation Mechanism Download PDF
Distributed Promotional Platform for Promoting Securities Information Patent N° US12299709B2 Crowded Media Group LLC May 13, 2025 Previous patent image Next patent image Distributed Promotional Platform for Promoting Securities Information View on Google Patents Distributed Promotional Platform for Promoting Securities Information Download PDF
Beverage with Collagen and Additional Additives Patent N° US12285031B2 WELLDRINKS LTD April 29, 2025 Previous patent image Next patent image Beverage with Collagen and Additional Additives View on Google Patents Beverage with Collagen and Additional Additives Download PDF
Virtual Reality De-Escalation Tool for Delivering Electronic Impulses to Targets Patent N° US12287911B2 Animated Storyboards April 29, 2025 Previous patent image Next patent image Virtual Reality De-Escalation Tool for Delivering Electronic Impulses to Targets View on Google Patents Virtual Reality De-Escalation Tool for Delivering Electronic Impulses to Targets Download PDF
Packer System, and Process to Settle and Retrieve Patent N° US12276174B2 IP CONN Limited Partnership April 15, 2025 Previous patent image Next patent image Packer System, and Process to Settle and Retrieve View on Google Patents Packer System, and Process to Settle and Retrieve Download PDF
Spectacles with Optical Display System Patent N° US12282171B2 IXAS CONSEIL April 12, 2025 Previous patent image Next patent image Spectacles with Optical Display System View on Google Patents Spectacles with Optical Display System Download PDF
Electronic Device Case with Attachments Patent N° US12264775B2 Gary Pontecorvo April 1, 2025 Previous patent image Next patent image Electronic Device Case with Attachments View on Google Patents Electronic Device Case with Attachments Download PDF
Decision-Making Method and Apparatus for Water and Fertilizer Stress of Crops, and Mobile Phone Terminal Patent N° US12260636B1 Beijing Gaowo IP Firm March 25, 2025 Previous patent image Next patent image Decision-Making Method and Apparatus for Water and Fertilizer Stress of Crops, and Mobile Phone Terminal View on Google Patents Decision-Making Method and Apparatus for Water and Fertilizer Stress of Crops, and Mobile Phone Terminal Download PDF
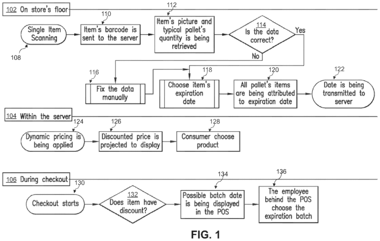
System and Method to Attribute Expiration Dates and Quantities of a Product to a SKU code for Pricing Purposes Patent N° US12254444B2 WasteLess LTD March 18, 2025 Previous patent image Next patent image System and Method to Attribute Expiration Dates and Quantities of a Product to a SKU code for Pricing Purposes View on Google Patents System and Method to Attribute Expiration Dates and Quantities of a Product to a SKU code for Pricing Purposes Download PDF
Disposable Nasal and Eye Wash Dispenser Patent N° US12251359B2 Gary Pontecorvo March 18, 2025 Previous patent image Next patent image Disposable Nasal and Eye Wash Dispenser View on Google Patents Disposable Nasal and Eye Wash Dispenser Download PDF