Bilateral Reversible Venous Tourniquet Bands Patent N° US12426893B2 IPC, LLC DBA PlatinumCode September 30, 2025 Previous patent image Next patent image Bilateral Reversible Venous Tourniquet Bands View on Google Patents
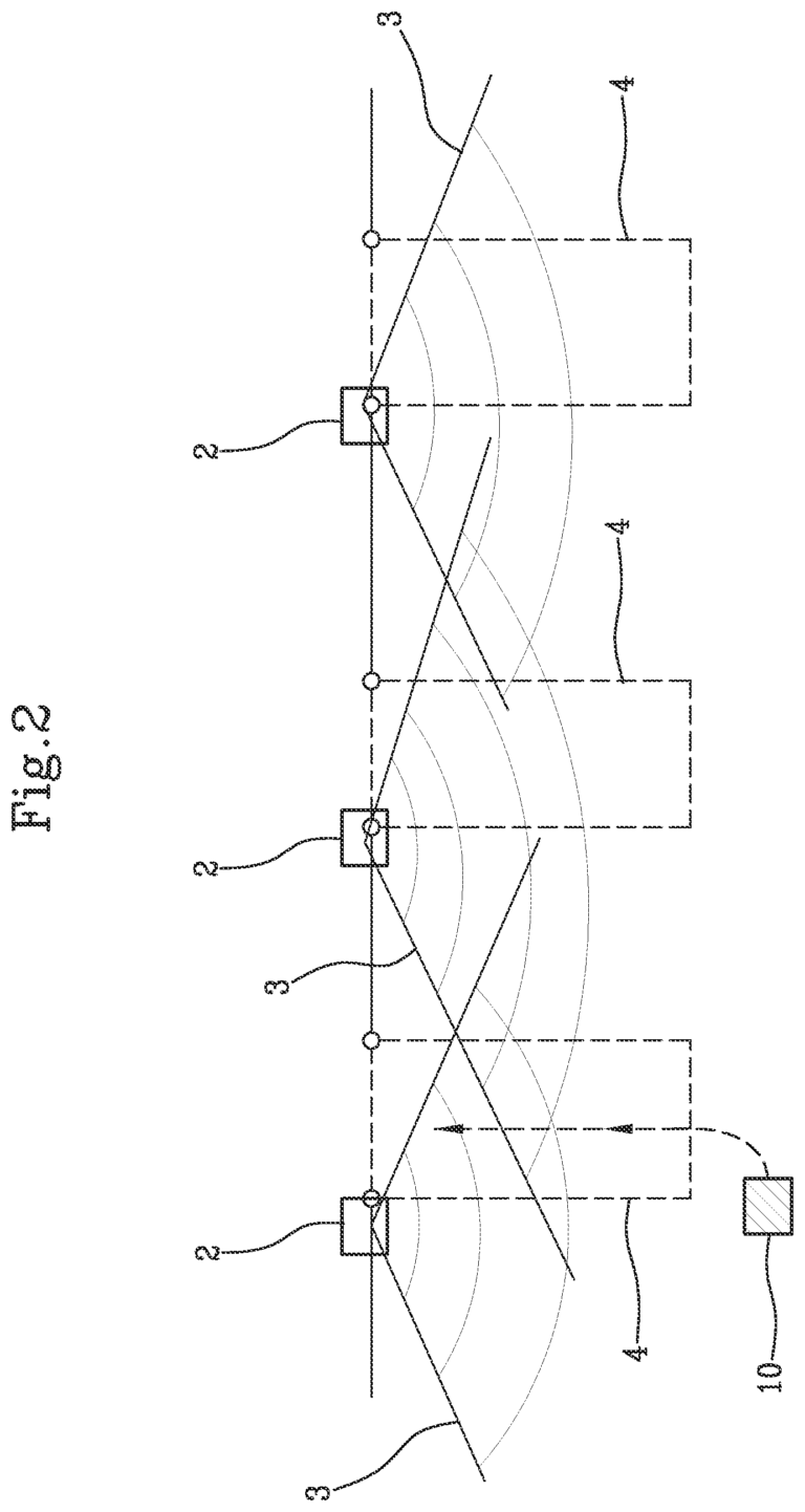
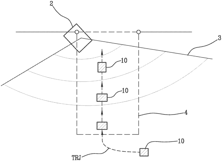
Device and system for monitoring the transit through passages Patent N° US20230298415A1 BUGNION S.p.A. September 30, 2025 Previous patent image Next patent image Device and system for monitoring the transit through passages View on Google Patents Device and system for monitoring the transit through passages Download PDF
System and Method for Audible Spatial Description for People With Sensory Disabilities and the Aging Population Patent N° US12424084B2 Foresight Augmented Reality September 23, 2025 Previous patent image Next patent image System and Method for Audible Spatial Description for People With Sensory Disabilities and the Aging Population View on Google Patents
Dual Interface Smart Card Patent N° US12417368B2 03882 Protec Secure Card September 16, 2025 Previous patent image Next patent image Dual Interface Smart Card View on Google Patents
Content Encryption and In-Place Decryption Using Visually Encoded Ciphertext – ( Previously 03098AFVS01UTLN01USCIP) Patent N° US12387623B2 Cyphlens LLC August 12, 2025 Previous patent image Next patent image Content Encryption and In-Place Decryption Using Visually Encoded Ciphertext – ( Previously 03098AFVS01UTLN01USCIP) View on Google Patents
Cloud-Based Interactive Digital Medical Imaging and Patient Health Information Exchange Platform Patent N° US12387836B2 Actual HealthCare Solutions August 12, 2025 Previous patent image Next patent image Cloud-Based Interactive Digital Medical Imaging and Patient Health Information Exchange Platform View on Google Patents
Use of APOE4 Motif-Mediated Genes for Diagnosis and Treatment of Alzheimer’s Disease Patent N° US12385093B2 Selonterra, Inc. August 12, 2025 Previous patent image Next patent image Use of APOE4 Motif-Mediated Genes for Diagnosis and Treatment of Alzheimer’s Disease View on Google Patents
Head Worn Wireless Computer Having a Display Suitable for Use as a Mobile Internet Device Patent N° US12381999B2 BlueRadios, Inc. August 5, 2025 Previous patent image Next patent image Head Worn Wireless Computer Having a Display Suitable for Use as a Mobile Internet Device View on Google Patents
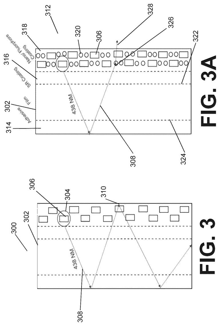
Ultraviolet (UV) Absorbing Inks and Films (Track 1) Patent N° US12371577B2 N.J. Solar & Safety Film LLC July 29, 2025 Previous patent image Next patent image Ultraviolet (UV) Absorbing Inks and Films (Track 1) View on Google Patents
Portable Non-Invasive Devices for Integrative Medicine and Holistic Healing Patent N° BR112019018492-9 Gaia Holistic Health July 29, 2025 Previous patent image Next patent image Portable Non-Invasive Devices for Integrative Medicine and Holistic Healing View on Google Patents